PVC soorten

Onze ramen en deuren worden gemaakt uit diverse PVC soorten. Ontdek hieronder de verschillen.

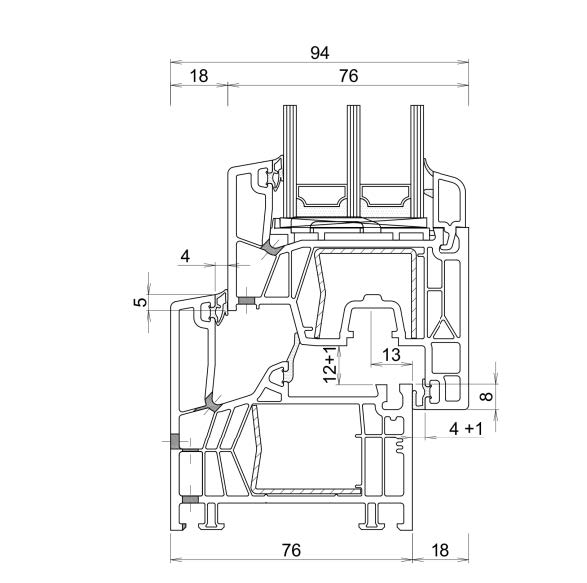
KÖMMERLING 76 AD

PVC
Hoogisolerende 5 Kamersysteem
Kömmerling.
76 mm inbouwdiepte met rechtlijnig strak
design.
Dichtingen: 2 EPDM dichtingen in zwart of grijs zorgen voor slagregendichtheid en winddichtheid.

OPPERVLAKTEBEHANDELING
Meest gangbare RAL-kleuren
Korrelstructuur RAL-kleuren voor mat uitzicht en verhoogde krasbestendigheid

PRESTATIENIVEAU
Warmtedoorgangscoëfficiënt
Gem. U-w waarde van 1,3 W/m²K (bij U-g 1,0
w/m2K) tot 0,88 W/m²K (bij U-g 0,6 W/m2K en Warm Edge afstandhouders).

U-f waarde van 1,1 W/m²K

Weerstand tegen wind: C5/B5

Luchtdoorlaat: 4

Waterdichtheid: 9A

Geluidswerendheid: tot 47 dB

Inbraakwerendheid: tot WK2

BIJZONDERE KENMERKEN
5 Kamersysteem

EPDM dichtingen zwart behalve bij PVC wit
lichtgrijs.

Hang- en sluitwerk: beslaggroef 16 mm

TECHNISCHE KENMERKEN
Minimale aanzichtbreedte raamprofiel:
- kader: 67 mm
- vleugel: 49 mm

Inbouwdiepte raam:
- kader: 76 mm
- vleugel: 76 mm

Sponninghoogte: 20 mm

Glasdikte:
- kader: 24 mm tot en met 50 mm
- vleugel: 24 mm tot en met 50 mm

KÖMMERLING 76 MD

PVC
Hoogisolerende 6 Kamersysteem Kömmerling.

76 mm inbouwdiepte met rechtlijnig strak design.

Dichtingen: 2 EPDM dichtingen in zwart of grijs zorgen voor slagregendichtheid en winddichtheid.

OPPERVLAKTEBEHANDELING
Houtnerf foliestructuren volgens beschikbaarheid profielleverancier.

Meest gangbare RAL-kleuren

Korrelstructuur RAL-kleuren voor mat uitzicht en verhoogde krasbestendigheid

PRESTATIENIVEAU

Warmtedoorgangscoëfficiënt: Gem. U-w waarde van 1,1 W/m²K (bij U-g 1,0 w/m2K) tot 0,88 W/m²K (bij U-g 0,6 W/m2K en Warm Edge afstandhouders).

U-f waarde van 1,0 W/m²K

Weerstand tegen wind:C5/B5

Luchtdoorlaat: 4

Waterdichtheid: 9A

Geluidswerendheid: tot 47 dB

Inbraakwerendheid: tot WK2

BIJZONDERE KENMERKEN

6 Kamersysteem

EPDM dichtingen zwart behalve bij PVC wit lichtgrijs.

Hang- en sluitwerk: beslaggroef 16 mm

TECHNISCHE KENMERKEN
Minimale aanzichtbreedte raamprofiel:
- kader: 67 mm
- vleugel: 49 mm

Inbouwdiepte raam:
- kader: 76 mm
- vleugel: 76 mm

Sponninghoogte: 20 mm

Glasdikte:
- kader: 24 mm tot en met 50 mm
- vleugel: 24 mm tot en met 50 mm

KÖMMERLING 88

PVC
Hoogisolerende 6 Kamersysteem Kömmerling.

88 mm inbouwdiepte met rechtlijnig strak design.

Dichtingen

2 EPDM dichtingen in zwart of grijs zorgen voor slagregendichtheid en winddichtheid.

OPPERVLAKTEBEHANDELING

Meest gangbare RAL-kleuren

Korrelstructuur RAL-kleuren voor mat uitzicht en verhoogde krasbestendigheid

PRESTATIENIVEAU

Warmtedoorgangscoëfficiënt: Gem. U-w waarde van 0.92 W/m²K (bij U-g 0.82 w/m2K) tot 0,88 W/m²K (bij U-g 0,6 W/m2K en warm Edge afstandhouders).

U-f waarde van 1,1 W/m²K

Weerstand tegen wind:C5/B5

Luchtdoorlaat: 4

Waterdichtheid: 9A

Geluidswerendheid: tot 47 dB

Inbraakwerendheid: tot WK2

BIJZONDERE KENMERKEN

6  Kamersysteem

EPDM dichtingen zwart behalve bij PVC wit
lichtgrijs.

Hang- en sluitwerk: beslaggroef 16 mm

TECHNISCHE KENMERKEN

Minimale aanzichtbreedte raamprofiel:
    - kader: 86 mm
    - vleugel: 42 mm

Inbouwdiepte raam:
    - kader: 88 mm
    - vleugel: 88 mm

Sponninghoogte: 20 mm

Glasdikte:
    - kader: 24 mm tot en met 54 mm
    - vleugel: 24 mm tot en met 54 mm

Maak jouw eigen website met JouwWeb